

英语原文共 14 页,剩余内容已隐藏,支付完成后下载完整资料
液压轴承安装压力机
窗体顶端
摘 要:两个相对的液压柱塞同时将轴承驱动到轴组件的相对端处的轴承座上,轴组件内部的轮已经就位在该轴组件上。车轮支撑台车最初定位并支撑相对的柱塞之间的车轮和车桥组件。 柱塞垂直调节到与轴同心的相对位置。当柱塞作用在轴承上时,如果在安装一个轴承时遇到比在安装另一个轴承时更大的阻力,则轴及其支撑台车可以轴向移动离开其中心位置。安装在车轮支撑台车上的传感装置监测车轴的运动,并停止驱动流体流到推杆,推动车轴偏离中心,直到相对的推杆重新打开车轴。
一、引言
窗体底端
窗体顶端
本发明涉及一种用于在轨道车轴的相对端上同时安装轴承的压力机,包括用于监测轴位置并响应于此而调节冲压动作的装置。更具体地说,本发明涉及一种轴承压力机,其中轴仅由在安装操作期间驱动轴承就位的相对的柱塞支撑,并且还包括监测轴从其正常中心位置的位移的传感装置,重新起动车轴。
窗体顶端
用于将轴承安装在车轴的轴承座上的现有技术的压力机通常采用相对的液压柱塞,其中轴刚性地支撑在它们之间,并且不需要检测装置来监测轴从其中心位置的位移。当轴承被按压时,不允许轴的运动。在O.E.Rothfuchsetal的专利中说明了轴的刚性支撑。2,906,012。其他压机用于从车轴安装和拆卸压配合的轮子也使用相对的液压柱塞。通常,在这种压力机中,轮子不是同时安装或拆卸的。相反,每个车轮以一系列步骤单独处理,这可能涉及车轮或轮轴从一个工位到另一个工位的轴向移动。这种运动由限位开关调节,限位开关在一系列临界点检测车轮和车轴的位置,因为每个顺序步骤发生,表示一个部件处于预定位置,从而可以进行下一个顺序步骤。授予J.W.Reed等人的专利3,050,837和Hoffman 3,189,985说明了这样的系统。
窗体顶端
二、发明内容
窗体顶端
本发明的轴承压力机设计成使轴承同时而不是顺序地压在车轴上。该轴承压力机允许轴承正被施加的轴沿其轴线轴向移动,并且在这方面也与现有技术不同。为了控制和限制轴的运动,传感装置监测该运动并且引起施加到柱塞上的力的调节以使轴重新定位。
窗体顶端
所描述的结构具有在安装轴承的过程中节省的时间和步骤的优点。该布置还导致有效的总体组装系统,其中轮副和轴仅从装载轨道滚动到位于待由柱塞接合的位置的车轮支撑台车上,并在轴承就位之后再次滚动。机械是紧凑的,因为在安装轴承时发生轴轮组的很小的轴向运动,使得冲头长度可以保持相对较短并且相对便宜。
窗体顶端
更具体地,本发明涉及一种用于同时将轴承安装在位于轴的相对端的轴承座上的液压机。该压机包括具有安装在框架上的相对的缸的支撑框架。在其相应缸中的每个液压油缸可朝向另一个移动,以在预定位置接合并定位它们之间的轴。每个压头具有用于支撑与所述轴的座部同心的轴承的装置。提供了另外的装置,其可相对于每个冲头相对移动,以将相应的轴承从支撑装置驱动到其相邻的轴承座上。流体供应装置被设置成向每个所述气缸供应流体以将柱塞朝向彼此驱动。提供了用于感测轴从其中心位置的轴向位移的装置,这是由于一个轴承需要比另一个轴承更多的力被驱动到位。提供响应于所述感测装置的另一装置,用于使不等的压力施加到气缸,以继续将车轴轴承驱动到车轴轴承座上,并使车轴更新。
四、附图说明
窗体顶端
为了更好地理解本发明,参考附图,其中:
图1是车轴轴承安装压力机的前视图,其中轴位于相对的柱塞之间;
图2是车轴轴承安装压力机的俯视图。
图3是气缸组件的局部剖视图。
图4是沿图3的4-4线的剖视图1;
图5是类似于图5的局部正视图和视图。图1示出了相对的挺杆缩回但每个支撑和轴承并且具有位于它们之间的轴;
图6是类似于图6的视图。图5示出了与轴接触的相对的柱塞的定心装置,并且柱塞本身延伸到轴承已经被驱动到轴承座上的位置;
图7是类似于图7的视图。其中相对的挺杆缩回并且轴承座置在轴承座上。
图8是向压机提供动力的液压系统的示意图。
图9a,9b和9c是控制压机操作的电路的示意图。
窗体底端
五、具体实施方式的描述
窗体顶端
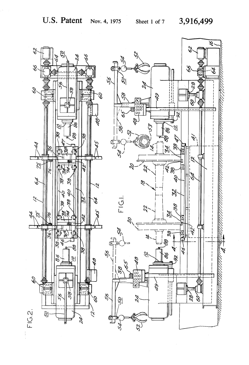
图1和图2示出了使用支撑在压床或框架12上的两个相对的柱塞的液压机,用于同时将轴承安装在轴18的相对端处的轴承座14上。液压柱塞包含在类似的相对的液压缸24中,通过大体标记为28的升降机结构支撑在框架12上。压机的基座12和其大部分结构位于沟槽16中,沟槽16可以形成在混凝土上并且具有允许通过滚动来处理轮副22的深度在地面的轨道。车轮组22的车轮承载在车轮台车支撑单元(总体上标记为32)上,车轮台架具有两个相似但相对定向的车轮台34.车轮台车各自具有四个辊38,其在一对轨道40上滚动,轨道基座41在沟槽16内向上延伸。轨道40平行于轴18的轴向延伸并且能够使轴在压力机中轴向移动。每个台车34与地面齐平并且具有可与装载管道45和卸载轨道44的内边缘对准的车轮凸缘凹槽。台车布置成使车轴在相对的柱塞10之间居中。辊38和轨道40使得车轮组沿着其轴线从图1所示的中心位置移动到婴儿车上。微型开关46和47形式的感测装置被定位成由台车接合。为了在检测车轮组22在其支撑台车34上的过度轴向行程的意义上监测台车位置,微动开关控制流体供给到液压缸,以使得柱塞10重新起动车轴。
窗体底端
窗体底端
窗体顶端
相同的过程控制面板48安装在压机的两端。控制器支撑在支撑柱49上,支撑柱49提供导线,电引线通过导线被馈送,并且从其分布的基座(未示出)。过程控制面板用于控制印刷机的操作。 相同的悬臂起重机50分别安装在每个液压缸24的顶部,并且如图1中的虚线所示使用。用于通过压力机将轴承53安装在车轴上。每个起重机包括用于接合和保持轴承53的爪装置52,包括用于操作爪的马达装置的致动装置54,优选地可移动爪和致动器组件的梁56,以及枢转支撑装置58,控制面板48控制轴承的定位,接合和释放。
窗体底端
窗体顶端
每个升降机28在地板下方锚固到支撑框架12的基部,并且由两个升降单元或者四个单元形成系统,每个角落一个。升降机是螺旋千斤顶60,由液压马达62驱动并同步驱动,并通过常规机械轴64和直角驱动单元66联接。升降单元60又支撑液压缸24.升降单元60及其驱动电动机62可由过程控制面板48上的四位升降舵控制操纵杆控制,其使得操作者能够一致地连续地上下移动升降单元60和液压缸24。车轮组22将根据车轮20的尺寸在特定的垂直高度处定位在车轮台车支撑单元32上,因此液压缸24必须能够升高或降低,以便垂直地与轴线成一直线的轴。为了帮助操作者定位液压缸24,在每个站处设置轮带读出计数器65,其包括机械连接到压机升降机机构的计数器,其被校准以指示压机相对于压机的尺寸的适当垂直位置上的车轮。
在图1中可以看到液压缸24和冲头10的结构的细节。如可以看到的,压头10是两件式结构,其部件80和82伸缩并且可相对于彼此轴向滑动。柱塞件80的内部具有心轴延伸部84,该心轴延伸部84承载可替换的轴承套筒或杯86,其紧密地配合在心轴84上并且提供定心锥88,该定心锥88设置成在轴的轴端处进入配合的车床中心90,定心和轴向对准的目的。外柱塞件82具有柱塞面92,该柱塞面92提供向内延伸的肩部延伸部92a,与内柱塞部件80上的向外延伸的肩部延伸部94相对。在柱塞部件80和82的轴向间隔开的横向部分之间的压缩弹簧96倾向于驱动 这些构件轴向分开直到肩部92a和94停止这种运动。
填料98和填料环99用作形成在压头的外部件82和缸之间的液压返回室101的压力保持器。 端口100允许将液压流体引入该室中。活塞环103用作用于与填料相对的液压返回室的端部的压力保持器。此外,活塞环保持液压缸24的液压压力,液压缸24具有通过端口102引入的液压流体。
当轴承放置在套筒86上并且内部构件80抵靠轴18的端部时,外部件82的端部上的附加流体压力将导致弹簧96在外部件被向前驱动时压缩,并且邻接环104推动 I轴承离开套筒86并且到轴承座14上。
如图所示,如图4所示,每个台车34具有可移除的可调整和可再生的定位板36,其提供凹槽36a,轮子20在其中心的轮的形状。车轮支撑台车数量单元34还具有车轮组排出机构68,其由锚定到基座41的液压缸70组成,其输出柱塞72连接到垂直定向的柱塞74,该柱塞74引导通过基座41的一部分偏离中心,以便将车轮推向卸载轨道44.排放机构由过程控制面板48上的车轮组放电控制来控制。如果车轮组22以过大的速度进入小车34,则安全闩锁75防止其通过压力机滚动。闩锁75包括垂直定向的阻挡柱塞76,其由液压缸78推动到从管道45装载的轮副的路径中。当轮副排出单元68被致动时,安全闩锁75缩回以允许轮进入卸载轨道44。
图5,图6和图7示出了将轴承安装在轴承座14上的步骤。首先使用悬臂起重机将轴承放置在滑枕10的轴承套筒86上的适当位置。然后通过使用ram控制操纵杆扩展相反的公羊。两个柱塞以提前的速度朝向轴前进,并且柱塞套筒86的定心锥88进入轴的端部中的车床中心90,以同心地对齐柱塞延伸部和轴。随着柱塞继续延伸并且由柱塞10的外部构件82驱动的邻接环104使轴承从套筒86滑动并将它们压在轴承座14上,当它们被驱动到它们的座位,并且柱塞的推进自动地减速到按压速度。邻接环104是优选地可释放地附接到撞锤面92,以与外部构件82一起从工作轴退出。当外部82前进时,内部80不能前进,使得心轴84和套筒86有效地缩回进入外部构件82。
在轴承已经被按压之后,如图6所示,通过引导冲头控制操纵杆向后缩回而使冲头缩回。如果一个柱塞比另一个柱塞回缩得更快,则轴将被推离中心,并且一个感测微动开关将被致动,使得柱塞推动轴偏离中心,直到相对的柱塞重新起动轴。
最后,当柱塞完全缩回时,如图7所示,弹出机构被激励并且将轮组从压机滚动到轨道44上。
先前已经描述的以下控制在过程控制面板上:压头控制,压机电梯控制和车轮组放电控制。此外,还有一个站点主动控制选择器开关,允许操作员将控制站切换到印刷机的任一侧,但为了安全目的,仍然只有一个站点活动。还提供紧急停止,其在被按压时使整个过程断电。还有指示灯,用于液压动力打开,轮对中心,以及右手和左手站控制激活。
图8是液压系统的示意图。电动机152驱动高压活塞泵150,其向柱塞10提供高工作流体压力,并且还驱动低压轴向叶片泵154,低压轴向叶片泵154分别向升降器组件28,轮组件排放机构68,安全闩75和任何辅助设备。高压活塞泵150经由液压管线136,阀135,液压管线122,阀118和128以及液压管线110,112,106和105连接到柱塞10.高工作流体压力从高压压力活塞泵150到达管线136,然后将其连通到阀135.阀135是由螺线管S1激活的开关阀,其在通电时将阀定位到打开位置。在打开位置,阀135允许来自液压管线136的高工作流体压力进入对于阀118和128两者共用的液压管线122.高压力被替代地提供为通过液压管线110或112,105或106与柱塞10连通以使它们朝向彼此延伸,缩回或停止它们。阀135与回流管线124具有的连接被堵塞,使得管线124在阀118和128与贮槽132之间连
剩余内容已隐藏,支付完成后下载完整资料
资料编号:[137375],资料为PDF文档或Word文档,PDF文档可免费转换为Word
您可能感兴趣的文章
- 饮用水微生物群:一个全面的时空研究,以监测巴黎供水系统的水质外文翻译资料
- 步进电机控制和摩擦模型对复杂机械系统精确定位的影响外文翻译资料
- 具有温湿度控制的开式阴极PEM燃料电池性能的提升外文翻译资料
- 警报定时系统对驾驶员行为的影响:调查驾驶员信任的差异以及根据警报定时对警报的响应外文翻译资料
- 门禁系统的零知识认证解决方案外文翻译资料
- 车辆废气及室外环境中悬浮微粒中有机磷的含量—-个案研究外文翻译资料
- ZigBee协议对城市风力涡轮机的无线监控: 支持应用软件和传感器模块外文翻译资料
- ZigBee系统在医疗保健中提供位置信息和传感器数据传输的方案外文翻译资料
- 基于PLC的模糊控制器在污水处理系统中的应用外文翻译资料
- 光伏并联最大功率点跟踪系统独立应用程序外文翻译资料
